Navigation überspringen Sitemap anzeigen

Autobetonpumpe M31

Spezialist für Werkshallen und kompakte Baustellen

Autobetonpumpe M31
Autobetonpumpe M31

Technische Daten

Leistung

Fördermenge max. m3/h 138
Förderdruck max. bar 85
Hubzahl max. 1/min 28

Mast

Endschlauchlänge m 4,00
Reichhöhe m 30,50
Reichweite m 26,50
Anzahl der Mastelemente Stk. 4
Schwenkbereich Grad 2 x 370°
Ausfalthöhe m 5,70

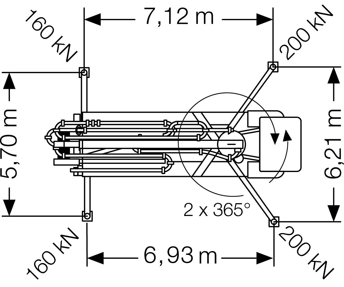
Abstützung

Abstützung vorne m 6,21
Abstützung hinten m 5,70
Abstützkräfte vorne kN 200
Abstützkräfte hinten kN 160

Technische Zeichnungen

Ein perfektes Team: Die kompakte M31 und unsere erfahrenen Maschinenführer

Jetzt mieten bei Emslandbeton!

Die M31 wird auch Hallenmeister genannt. Dank seiner ausgeklügelten Kinematik, lässt sich der Mast während des Betoniervorgangs um eine Länge von 4,60 m teleskopieren. Trotz ihrer hallentauglichen Ausfalthöhe von unter 5,70 m erreicht die M31 dementsprechend Reichweiten und -höhen der 30-m-Klasse.

Die M31 bildet mit unseren erfahrenen Maschinenführern ein perfektes Duo und ist damit eine ideale Lösung für kompakte Bauvorhaben und Arbeiten in Werkshallen.

Zum Seitenanfang