Navigation überspringen Sitemap anzeigen

Autobetonpumpe M47

Solide Vielseitigkeit, flexibel einsetzbar

Autobetonpumpe M47
Autobetonpumpe M46

Technische Daten

Leistung

Fördermenge max. m3/h 161
Förderdruck max. bar 85
Hubzahl max. 1/min 32

Mast

Endschlauchlänge m 4,00
Reichhöhe m 35,20
Reichtiefe m 24,00
Reichweite m 31,25
Netto-Reichweite m 28,62
Anzahl der Mastelemente Stk. 4
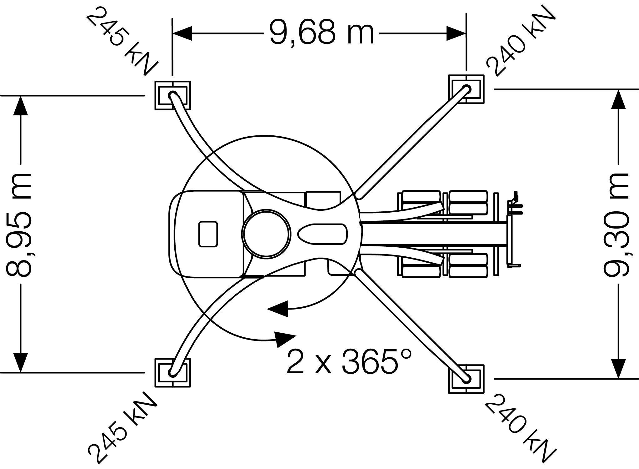
Schwenkbereich Grad 2 x 365°
Ausfalthöhe m 8,32

Abstützung

Abstützung vorne m 6,21
Abstützung hinten m 5,70
Abstützkräfte vorne kN 190
Abstützkräfte hinten kN 150

Technische Zeichnungen

Ein perfektes Team: Die leichte M47 und unsere erfahrenen Maschinenführer

Jetzt mieten bei Emslandbeton!

Die M47 bringt bei kompletter Ausstattung und voller Einsatzbereitschaft weniger als 32 Tonnen auf die Waage und bietet damit die bestmögliche Kombination aus hoher Reichweite und flexiblen Einsatzmöglichkeiten bei moderatem Gewicht.

Die M47 besticht zusammen mit unseren erfahrenen Maschinenführern durch vielfältige und flexible Einsatzmöglichkeiten.

Zum Seitenanfang